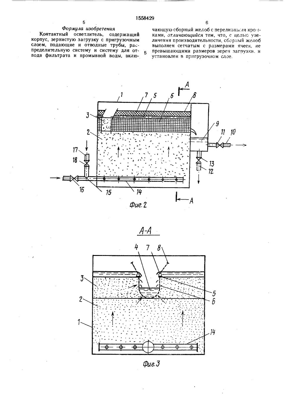
Контактный осветлитель

Схема и принцип работы осветлителя. Контактный осветлитель ко-1. Контактный осветлитель. Контактный осветлитель. Схема контактного осветлителя.
Схема и принцип работы осветлителя. Контактный осветлитель ко-1. Контактный осветлитель. Контактный осветлитель. Схема контактного осветлителя.
Схема контактного осветлителя ко-1. Фильтры, осветлители контактные. Контактный осветлитель. Контактный осветлитель. Схема контактного осветлителя ко-1.
Схема контактного осветлителя ко-1. Фильтры, осветлители контактные. Контактный осветлитель. Контактный осветлитель. Схема контактного осветлителя ко-1.
Очистка воды методом коагулирования. Контактный осветлитель. Скорые фильтры для очистки воды схема. Контактные осветлители воды. Контактный осветлитель чертеж.
Очистка воды методом коагулирования. Контактный осветлитель. Скорые фильтры для очистки воды схема. Контактные осветлители воды. Контактный осветлитель чертеж.
Контактные префильтры скорые фильтры двухступенчатое фильтрование. Контактный осветлитель ко-3. Схема контактные префильтры скорые фильтры. Контактный осветлитель ко-1. Контактный осветлитель.
Контактные префильтры скорые фильтры двухступенчатое фильтрование. Контактный осветлитель ко-3. Схема контактные префильтры скорые фильтры. Контактный осветлитель ко-1. Контактный осветлитель.
Контактный осветлитель д= 1500 мм. Контактный осветлитель для очистки воды. Схема контактного осветлителя ко-1. Контактные осветлители воды. Фильтры, осветлители контактные.
Контактный осветлитель д= 1500 мм. Контактный осветлитель для очистки воды. Схема контактного осветлителя ко-1. Контактные осветлители воды. Фильтры, осветлители контактные.
Контактный осветлитель операторная схема. Контактный осветлитель ко-3. Скорый фильтр с центральным каналом. Контактные осветители схемы. Контактные осветлители воды принцип работы.
Контактный осветлитель операторная схема. Контактный осветлитель ко-3. Скорый фильтр с центральным каналом. Контактные осветители схемы. Контактные осветлители воды принцип работы.
Контактный осветлитель. Контактный осветлитель. Схема контактного осветлителя. Контактный осветлитель. Контактный осветлитель чертеж.
Контактный осветлитель. Контактный осветлитель. Схема контактного осветлителя. Контактный осветлитель. Контактный осветлитель чертеж.
Контактный осветлитель ко-1. Контактный осветлитель. Схема контактного осветлителя ко-1. Схема контактного осветлителя. Контактный осветлитель.
Контактный осветлитель ко-1. Контактный осветлитель. Схема контактного осветлителя ко-1. Схема контактного осветлителя. Контактный осветлитель.
Схема контактного осветлителя ко-1. Контактный осветлитель принцип работы. Схема контактного осветлителя. Методы очистки воды коагулирование воды. Контактные осветители схемы.
Схема контактного осветлителя ко-1. Контактный осветлитель принцип работы. Схема контактного осветлителя. Методы очистки воды коагулирование воды. Контактные осветители схемы.
Контактный осветлитель чертеж. Схема контактного осветлителя. Контактный осветлитель чертеж. Контактный осветлитель. Контактный осветлитель чертеж.
Контактный осветлитель чертеж. Схема контактного осветлителя. Контактный осветлитель чертеж. Контактный осветлитель. Контактный осветлитель чертеж.
Контактный осветлитель. Контактный осветлитель. Контактный осветлитель операторная схема. Схема контактного осветлителя. Контактный осветлитель ко-1.
Контактный осветлитель. Контактный осветлитель. Контактный осветлитель операторная схема. Схема контактного осветлителя. Контактный осветлитель ко-1.
Схема контактного осветлителя ко-1. Контактный осветлитель. Контактный осветлитель разрез. Очистка воды фильтрация коагуляция и отстаивание. Контактный осветлитель фильтрация.
Схема контактного осветлителя ко-1. Контактный осветлитель. Контактный осветлитель разрез. Очистка воды фильтрация коагуляция и отстаивание. Контактный осветлитель фильтрация.
Контактный осветлитель ко-1. Контактный осветлитель. Контактный осветлитель. Контактный осветлитель чертеж. Контактный осветлитель чертеж.
Контактный осветлитель ко-1. Контактный осветлитель. Контактный осветлитель. Контактный осветлитель чертеж. Контактный осветлитель чертеж.
Контактный осветлитель ко-1. Фильтры, осветлители контактные. Муп астрводоканал астрахань. Скорый фильтр с водовоздушной промывкой. Контактный осветлитель чертеж.
Контактный осветлитель ко-1. Фильтры, осветлители контактные. Муп астрводоканал астрахань. Скорый фильтр с водовоздушной промывкой. Контактный осветлитель чертеж.
Контактный осветлитель. Осветлители со взвешенным осадком скорые фильтры схема. Контактный осветлитель. Контактный осветлитель ко-1. Схема контактного осветлителя.
Контактный осветлитель. Осветлители со взвешенным осадком скорые фильтры схема. Контактный осветлитель. Контактный осветлитель ко-1. Схема контактного осветлителя.
Схема контактного осветлителя. Контактный осветитель. Контактные осветлители воды. Контактный осветлитель чертеж. Контактный осветлитель.
Схема контактного осветлителя. Контактный осветитель. Контактные осветлители воды. Контактный осветлитель чертеж. Контактный осветлитель.
Контактный осветлитель. Контактные осветители схемы. Контактный осветлитель. Контактные осветлители воды. Скорый фильтр с центральным каналом.
Контактный осветлитель. Контактные осветители схемы. Контактный осветлитель. Контактные осветлители воды. Скорый фильтр с центральным каналом.
Контактный осветлитель. Схема контактного осветлителя ко-1. Осветлители со взвешенным осадком скорые фильтры схема. Очистка воды фильтрация коагуляция и отстаивание. Контактный осветлитель.
Контактный осветлитель. Схема контактного осветлителя ко-1. Осветлители со взвешенным осадком скорые фильтры схема. Очистка воды фильтрация коагуляция и отстаивание. Контактный осветлитель.
Контактный осветлитель д= 1500 мм. Контактный осветлитель ко-1. Схема контактного осветлителя. Контактный осветлитель ко-3. Схема контактного осветлителя.
Контактный осветлитель д= 1500 мм. Контактный осветлитель ко-1. Схема контактного осветлителя. Контактный осветлитель ко-3. Схема контактного осветлителя.
Контактный осветлитель ко-3. Схема контактного осветлителя ко-1. Контактный осветлитель ко-3. Контактный осветлитель. Скорый фильтр с водовоздушной промывкой.
Контактный осветлитель ко-3. Схема контактного осветлителя ко-1. Контактный осветлитель ко-3. Контактный осветлитель. Скорый фильтр с водовоздушной промывкой.